您現在所在位置:大田閥門 >> 襯膠閥門(襯里閥門)
EG46W(無襯里)、EG46J(襯膠) 直通式隔膜閥專用于控制非腐蝕性或一般腐蝕性介質,閥體內腔表面無襯里或覆有可供選擇的各種橡膠、適用于不同工作溫度和液體管路。

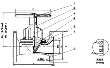
部件列表:1.閥體 2.閥體襯里 3.隔膜 4.閥瓣 5.閥桿 6.閥蓋 7、手輪
閥體:鑄鐵、球墨鑄鐵、碳鋼、不銹鋼
閥蓋:鑄鐵、球墨鑄鐵、碳鋼、不銹鋼
襯里:無襯里、橡膠
隔膜:橡膠
閥瓣:鑄鐵、碳鋼
閥桿:碳鋼、不銹鋼
手輪:鑄鐵
襯里層:電火花檢測
試驗與檢驗按BS6755標準
公稱壓力:PN(MPa)
閥體:PN×1.5
密封:PN×1.1
隔膜閥是一種特殊形式的截斷閥:
1. 彈性密封的開閉件,確保沒有內漏;
2. 流線型的流道,使得壓力損失小;
3. 沒有填料函,因此沒有外漏;
4. 閥體與蓋被中間隔膜隔開,使得隔膜上方的閥蓋,閥桿等零件不受介質侵蝕;
5. 隔膜可更換,維護費用低;
6. 襯里材料的多樣性,可適用于各種介質,并具有強度高、耐腐蝕性能好的特點。
| DN | 公稱壓力 MPa |
工作壓力 MPa |
L mm |
D mm |
D1 mm |
n-Фd mm |
f mm |
H1 mm |
H2 mm |
D0 mm |
質量 Kg/kilos |
|---|---|---|---|---|---|---|---|---|---|---|---|
| 20 | 1.0 | 1.0 | 117 | 105 | 75 | 4-13.5 | 2 | 150 | 162 | ||
| 25 | 127 | 115 | 85 | 4-13.5 | 2 | 150 | 162 | 120 | 3.5 | ||
| 32 | 146 | 140 | 100 | 4-17.5 | 2 | 152 | 180 | 120 | 5 | ||
| 40 | 159 | 150 | 110 | 4-17.5 | 2 | 152 | 180 | 120 | 6 | ||
| 50 | 190 | 165 | 125 | 4-17.5 | 2 | 163 | 198 | 120 | 8.5 | ||
| 65 | 216 | 185 | 145 | 4-17.5 | 2 | 205 | 227 | 230 | 16 | ||
| 80 | 254 | 200 | 160 | 8-17.5 | 2 | 220 | 252 | 230 | 22 | ||
| 100 | 305 | 220 | 180 | 8-17.5 | 2 | 262 | 300 | 280 | 32 | ||
| 125 | 0.6 | 356 | 250 | 210 | 8-17.5 | 3 | 290 | 335 | 280 | 43.5 | |
| 150 | 406 | 285 | 240 | 8-22 | 3 | 368 | 427 | 368 | 65 | ||
| 200 | 521 | 340 | 295 | 8-22 | 3 | 410 | 470 | 483 | 112.5 | ||
| 250 | 0.4 | 635 | 395 | 350 | 12-22 | 5 | 479 | 569 | 483 | 192.5 | |
| 300 | 749 | 445 | 400 | 12-22 | 5 | 550 | 650 | 560 | 296 | ||
| 350 | 787 | 505 | 460 | 16-22 | 5 | 550 | 650 | 560 | |||
| 400 | 0.25 | 914 | 565 | 515 | 16-26 | 5 | 640 |
溫馨提示:
本文中所有文字、數據、圖片均只適用于參考。需要查看更多的EG46W(無襯里)、EG46J(襯膠) 直通式隔膜閥性能參數、結構尺寸參數、價格等詳情,或要求印刷樣本,請聯系我們。
主營產品:氣動調節閥 - 電動調節閥 - 自力式調節閥
版版權所有 © 上海大田閥門管道工程有限公司
地址:上海市浦東新區川宏路528號宏圖大樓5樓
